Patent information:

Patent:Utility 1,061,824
Patented:May 13, 1913
Applied:April 9, 1912
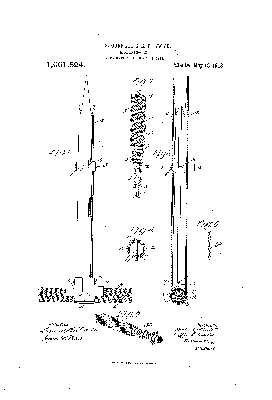
Title:Lightning Rod
Description:Lightning rod point made of sheet metal formed in two halves, bend around the conductor, and clipped together to form a hole rod
Category:Lightning Rod Point
Assigned to: 

Patentee Information:

CURNUTT, John Z. Maryville, MO
LLOYD, Eldon E. Maryville, MO

Class and subclass information:

Class:174ELECTRICITY: CONDUCTORS AND INSULATORS
Subclass:4RAIR TERMINALS;

Known specimens:

None known

Drawings:

Drawing page 1

Page 1