Patent information:
| Patent: | Utility 1,099,421 |
| Patented: | June 9, 1914 |
| Applied: | June 14, 1911 |
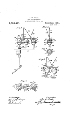
| Title: | High Voltage Switch |
| Description: | High voltage switch mounted on multipart insulators composed of triangle shaped metal rods and insulators that rotate to open or close the switch. |
| Category: | Switch |
| Assigned to: | |
Patentee Information:
Class and subclass information:
| Class: | 200 | ELECTRICITY: CIRCUIT MAKERS AND BREAKERS |
| Subclass: | 48R | HIGH-POTENTIAL TYPE; |
| Class: | 313 | ELECTRIC LAMP AND DISCHARGE DEVICES |
| Subclass: | 147 | WITH MOVABLE ELECTRODE OR SHIELD; Plural; |
| Class: | 313 | ELECTRIC LAMP AND DISCHARGE DEVICES |
| Subclass: | 323 | COMBINED; |
Known specimens:
|
Drawings:
Page 1 |
Page 2 |
|