Patent information:
| Patent: | Utility 1,140,603 |
| Patented: | May 25, 1915 |
| Applied: | July 8, 1913 |
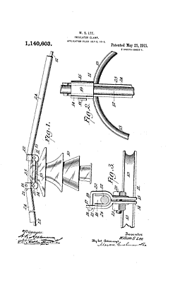
| Title: | Insulator Clamp |
| Description: | Tie wire clamp for multipart insulator that clamps around the crown and hold the cable in the top groove |
| Category: | Tie Wire |
| Assigned to: | |
Patentee Information:
Class and subclass information:
| Class: | 403 | JOINTS AND CONNECTIONS |
| Subclass: | 384 | ROD SIDE TO PLATE OR SIDE; |
| Class: | 24 | BUCKLES, BUTTONS, CLASPS, ETC. |
| Subclass: | 335 | COMBINED DIVERSE MULTIPART FASTENERS; Clasp; Plural clasps; |
| Class: | 174 | ELECTRICITY: CONDUCTORS AND INSULATORS |
| Subclass: | 172 | INSULATORS; With conductor holding means; Insulator embracing; |
Known specimens:
|
Drawings:
Page 1 |
Page 2 |
|