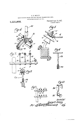
Patent information:
| Patent: | Utility 1,221,893 |
| Patented: | April 10, 1917 |
| Applied: | September 30, 1915 |
| Title: | Safety Repair Device for High Voltage Transmission Lines |
| Description: | Clamp to hold conductor to insulator while repairs are made |
| Category: | Clamp |
| Assigned to: | 1/2 to Thomas O. Moloney |
Patentee Information:
Class and subclass information:
| Class: | 174 | ELECTRICITY: CONDUCTORS AND INSULATORS |
| Subclass: | 168 | INSULATORS; With conductor holding means; |
| Class: | 174 | ELECTRICITY: CONDUCTORS AND INSULATORS |
| Subclass: | 150 | INSULATORS; Multiple insulator assemblies; Strings and stacks; |
| Class: | 174 | ELECTRICITY: CONDUCTORS AND INSULATORS |
| Subclass: | 163R | INSULATORS; With insulator-supporting or attaching means; Support and/or insulator embracing or clamping; |
Known specimens:
|
Drawings:
Page 1 |
Page 2 |
|