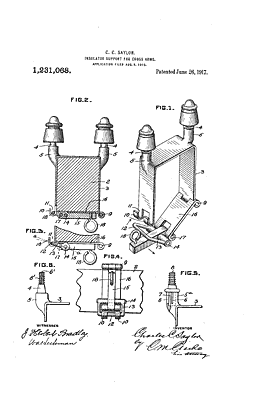
Patent information:
| Patent: | Utility 1,231,068 |
| Patented: | June 26, 1917 |
| Applied: | August 9, 1915 |
| Title: | Insulator Support for Cross Arms |
| Description: | Bracket with insulator pins that fits around the crossarm |
| Category: | Bracket |
| Assigned to: | |
Patentee Information:
Class and subclass information:
| Class: | 248 | SUPPORTS |
| Subclass: | 226.12 | BRACKETS; Specially mounted or attached; Bracket clamped to mount (i.e., single clamp); For electrical insulator; |
| Class: | 70 | LOCKS |
| Subclass: | 260 | |
| Class: | 248 | SUPPORTS |
| Subclass: | 228.8 | BRACKETS; Specially mounted or attached; Bracket clamped to mount (i.e., single clamp); Designed for a structural beam; By flexible clamping band; |
Known specimens:
|
Drawings:
Page 1 |
|