Patent information:
| Patent: | Utility 1,274,555 |
| Patented: | August 6, 1918 |
| Applied: | April 29, 1918 |
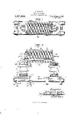
| Title: | Choke Coil Mounting |
| Description: | Secure mounting of a choke coil on top of two multipart insulators fitted with metal brackets clamped to the crown (see 1,574,964 and 1,663,007) |
| Category: | Choke Coil |
| Assigned to: | Electrical Engineers Equipment Co. |
Patentee Information:
Class and subclass information:
| Class: | 336 | INDUCTOR DEVICES |
| Subclass: | 67 | WITH MOUNTING OR SUPPORTING MEANS (E.G., BASE); Bracket; |
| Class: | 174 | ELECTRICITY: CONDUCTORS AND INSULATORS |
| Subclass: | 161R | INSULATORS; With insulator-supporting or attaching means; Adjustably or movably mounted; |
| Class: | 174 | ELECTRICITY: CONDUCTORS AND INSULATORS |
| Subclass: | 169 | INSULATORS; With conductor holding means; Fitting or terminal type; |
| Class: | 336 | INDUCTOR DEVICES |
| Subclass: | 207 | COIL OR COIL TURN SUPPORTS OR SPACERS; With coil turn spacer; |
Known specimens:
|
Drawings:
Page 1 |
Page 2 |
|