Patent information:
| Patent: | Utility 1,503,266 |
| Patented: | July 29, 1924 |
| Applied: | May 22, 1919 |
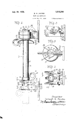
| Title: | Fuse and Mounting |
| Description: | Fuse and angle mount for Three E multipart insulators mounted on vertical surface. |
| Category: | Multipart |
| Assigned to: | Electrical Engineers Equipment Co. |
Patentee Information:
Class and subclass information:
| Class: | 337 | ELECTRICITY: ELECTROTHERMALLY OR THERMALLY ACTUATED SWITCHES |
| Subclass: | 211,337 | |
Known specimens:
| Number: |  |
|
Drawings:
|