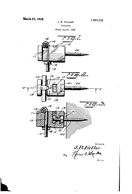
Patent information:
| Patent: | Utility 1,664,172 |
| Patented: | March 27, 1928 |
| Applied: | July 20, 1926 |
| Title: | Insulator |
| Description: | Knob with metal hook to hold wire |
| Category: | Knob |
| Assigned to: | |
Patentee Information:
Class and subclass information:
| Class: | 174 | ELECTRICITY: CONDUCTORS AND INSULATORS |
| Subclass: | 165 | INSULATORS; With insulator-supporting or attaching means; Support penetrating; Penetrating element socketed in insulator; |
| Class: | 174 | ELECTRICITY: CONDUCTORS AND INSULATORS |
| Subclass: | 168 | INSULATORS; With conductor holding means; |
| Class: | 174 | ELECTRICITY: CONDUCTORS AND INSULATORS |
| Subclass: | 200 | INSULATORS; With terminal elements; Pin type; With thimble in socket; |
Known specimens:
|
Drawings:
Page 1 |
|