Patent information:
| Patent: | Utility 1,685,834 |
| Patented: | October 2, 1928 |
| Applied: | August 2, 1922 |
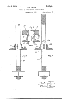
| Title: | Process of Manufacturing Insulator Pins |
| Description: | Manufacturing method to make steel pins for wooden crossarms |
| Category: | Manufacturing |
| Assigned to: | The Ohio Brass Co. |
Patentee Information:
Class and subclass information:
| Class: | 29 | METAL WORKING |
| Subclass: | 887 | METHOD OF MECHANICAL MANUFACTURE; Electrical device making; Insulator making; |
| Class: | 29 | METAL WORKING |
| Subclass: | 509 | METHOD OF MECHANICAL MANUFACTURE; Assembling or joining; Joining by deforming; Overedge assembling of seated part; |
| Class: | 29 | METAL WORKING |
| Subclass: | 520 | METHOD OF MECHANICAL MANUFACTURE; Assembling or joining; Joining by deforming; Inward deformation of aperture or hollow body wall; By axially applying force; |
| Class: | 29 | METAL WORKING |
| Subclass: | 521 | METHOD OF MECHANICAL MANUFACTURE; Assembling or joining; Joining by deforming; Surface interlocking; |
Known specimens:
|
Drawings:
Page 1 |
Page 2 |
|