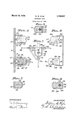
Patent information:
| Patent: | Utility 1,706,237 |
| Patented: | March 19, 1929 |
| Applied: | July 22, 1922 |
| Title: | Secondary Rack |
| Description: | Wireholder with hole near the bottom for attaching to a metal rack and hole near the top for securing the drop wire. |
| Category: | Wireholder |
| Assigned to: | Line Material Co. |
Patentee Information:
Class and subclass information:
| Class: | 174 | ELECTRICITY: CONDUCTORS AND INSULATORS |
| Subclass: | 162 | INSULATORS; With insulator-supporting or attaching means; Double arm; |
| Class: | 174 | ELECTRICITY: CONDUCTORS AND INSULATORS |
| Subclass: | 158R | INSULATORS; With insulator-supporting or attaching means; |
| Class: | 174 | ELECTRICITY: CONDUCTORS AND INSULATORS |
| Subclass: | 167 | INSULATORS; With conductor receiving aperture or bushing type; |
| Class: | 174 | ELECTRICITY: CONDUCTORS AND INSULATORS |
| Subclass: | 196 | INSULATORS; With terminal elements; Pin type; Plastic material adhered; |
Known specimens:
| Number: |  |
|
Drawings:
Page 1 |
|