Patent information:
| Patent: | Utility 1,709,805 |
| Patented: | April 16, 1929 |
| Applied: | July 16, 1926 |
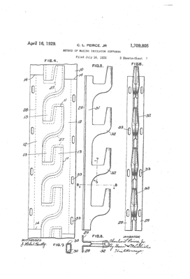
| Title: | Method of Making Insulator Supports |
| Description: | Secondary rack stamped out of one piece of sheet metal. (see patent 1,917,322) |
| Category: | Bracket/secondary Rack |
| Assigned to: | |
Patentee Information:
Class and subclass information:
| Class: | 228 | METAL FUSION BONDING |
| Subclass: | 173.6 | PROCESS; With shaping; Prior to bonding; By deforming; Sheet material; |
| Class: | 248 | SUPPORTS |
| Subclass: | 300 | BRACKETS; Of sheet material; |
| Class: | 29 | METAL WORKING |
| Subclass: | 887 | METHOD OF MECHANICAL MANUFACTURE; Electrical device making; Insulator making; |
| Class: | 29 | METAL WORKING |
| Subclass: | 897.3 | METHOD OF MECHANICAL MANUFACTURE; Structural member making; Static structure, e.g., a building component; |
Known specimens:
|
Drawings:
|