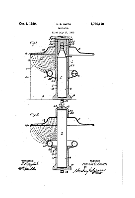
Patent information:

Patent:Utility 1,730,170
Patented:October 1, 1929
Applied:July 13, 1923
Title:Insulator
Description:Design with metal pin and metal projections to prevent arc-over
Category:Suspension
Assigned to:Westinghouse Electric & Mfg. Co.

Patentee Information:

SMITH, Harold B. Worcester, MA

Class and subclass information:

Class:174ELECTRICITY: CONDUCTORS AND INSULATORS
Subclass:140HINSULATORS Combined With conductive arcing or stress distributing means Hood type;
Class:174ELECTRICITY: CONDUCTORS AND INSULATORS
Subclass:210INSULATORS Sectional, multi-part, composite, or coated Pin socket type;
Class:313ELECTRIC LAMP AND DISCHARGE DEVICES
Subclass:326ELECTRODE AND SHIELD STRUCTURES;

Known specimens:

None known

Drawings:

Drawing page 1

Page 1