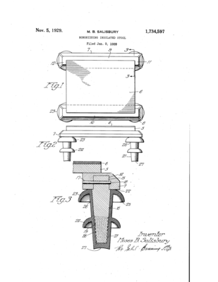
Patent information:
| Patent: | Utility 1,734,597 |
| Patented: | November 5, 1929 |
| Applied: | January 9, 1928 |
| Title: | Nonskidding Insulated Stool |
| Description: | Lineman's stool with four rubber legs that have two downward curved flanged skirts. |
| Category: | Stool |
| Assigned to: | |
Patentee Information:
Class and subclass information:
| Class: | 182 | ER, OR SCAFFOLD |
| Subclass: | 46 | |
| Class: | 174 | ELECTRICITY: CONDUCTORS AND INSULATORS |
| Subclass: | 138R | INSULATORS; Special application; |
| Class: | 174 | ELECTRICITY: CONDUCTORS AND INSULATORS |
| Subclass: | 5R | ELECTRIC SHOCK HAZARD PROTECTIVE DEVICES; |
| Class: | 248 | SUPPORTS |
| Subclass: | 188.8 | STAND; Understructure; Leg or foot; |
Known specimens:
| Number: |  |
|
Drawings:
Page 1 |
|