Patent information:
| Patent: | Utility 1,735,560 |
| Patented: | November 12, 1929 |
| Applied: | August 11, 1924 |
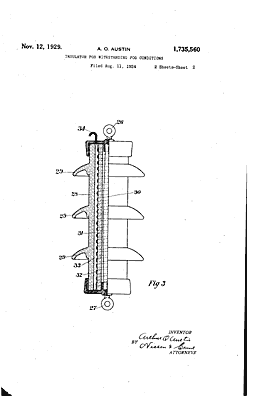
| Title: | Insulator for Withstanding Fog Conditions |
| Description: | Multipart porcelain insulator with heating elements embedded in the surface to keep surface of insulator dry during fog |
| Category: | Fog Type |
| Assigned to: | The Ohio Brass Co. |
Patentee Information:
Class and subclass information:
| Class: | 174 | ELECTRICITY: CONDUCTORS AND INSULATORS |
| Subclass: | 140C | INSULATORS; Combined; With conductive arcing or stress distributing means; Coated; |
| Class: | 174 | ELECTRICITY: CONDUCTORS AND INSULATORS |
| Subclass: | 30 | WITH FLUIDS OR VACUUM; Insulators; |
| Class: | 174 | ELECTRICITY: CONDUCTORS AND INSULATORS |
| Subclass: | 126.4 | CONDUITS, CABLES OR CONDUCTORS; Conductor structure (nonsuperconductive); Metal coated on insulation; |
| Class: | 174 | ELECTRICITY: CONDUCTORS AND INSULATORS |
| Subclass: | 139 | INSULATORS; Combined; |
| Class: | 174 | ELECTRICITY: CONDUCTORS AND INSULATORS |
| Subclass: | 210 | INSULATORS; Sectional, multi-part, composite, or coated; Pin socket type; |
Known specimens:
|
Drawings:
Page 1 |
Page 2 |
|