Patent information:
| Patent: | Utility 1,764,268 |
| Patented: | June 17, 1930 |
| Applied: | November 1, 1926 |
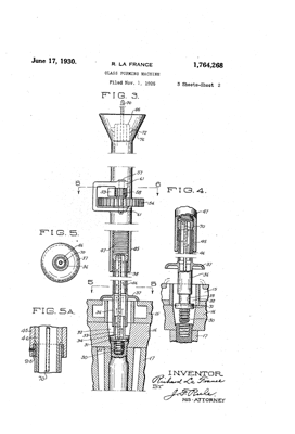
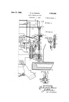
| Title: | Glass Forming Machine |
| Description: | Machine to form threads in glass articles such as insulators. (see patent 1,185,687) |
| Category: | Manufacturing |
| Assigned to: | Owens-Illinois Glass Co. |
Patentee Information:
Class and subclass information:
| Class: | 65 | GLASS MANUFACTURING |
| Subclass: | 218 | GOB CHARGING MEANS WITH SHAPE IMPARTING RECEPTACLE MEANS; By suction gatherer mounted above supply; Mold is gatherer; Parison mold; With plunger movable relative to mold; With separate, distinct blow mold; Diverse molds traveling concentric orbits; Finish mold pivotally mounted below parison's orbit; |
| Class: | 65 | GLASS MANUFACTURING |
| Subclass: | 316 | PRESS MOLDING MACHINE; With means to rotate plunger during withdrawal; |
| Class: | 65 | GLASS MANUFACTURING |
| Subclass: | 356 | MEANS HEATING OR COOLING APPARATUS; Internally positioned; |
Known specimens:
|
Drawings:
|