Patent information:
| Patent: | Utility 1,782,790 |
| Patented: | November 25, 1930 |
| Applied: | June 16, 1928 |
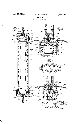
| Title: | Insulator |
| Description: | Strain insulator composed of a wooden strain sealed inside porcelain tubular shell that is filled with non-conducting oil |
| Category: | Strain |
| Assigned to: | Westinghouse Electric & Mfg. Co. |
Patentee Information:
Class and subclass information:
| Class: | 174 | ELECTRICITY: CONDUCTORS AND INSULATORS |
| Subclass: | 179 | INSULATORS; With terminal elements; Plural; Multi-part, sectional or composite insulator; Protected rod type; |
| Class: | 174 | ELECTRICITY: CONDUCTORS AND INSULATORS |
| Subclass: | 140H | INSULATORS; Combined; With conductive arcing or stress distributing means; Hood type; |
| Class: | 174 | ELECTRICITY: CONDUCTORS AND INSULATORS |
| Subclass: | 30 | WITH FLUIDS OR VACUUM; Insulators; |
Known specimens:
|
Drawings:
Page 1 |
|