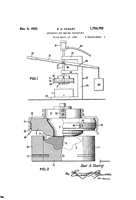
Patent information:
| Patent: | Utility 1,784,792 |
| Patented: | December 9, 1930 |
| Applied: | April 13, 1929 |
| Title: | Apparatus for Making Insulators |
| Description: | Manufacturing method that replace casting large unipart insulators with a means to press out the entire form of the insulator |
| Category: | Manufacturing |
| Assigned to: | Locke Insulator Corp. |
Patentee Information:
Class and subclass information:
| Class: | 425 | PLASTIC ARTICLE OR EARTHENWARE SHAPING OR TREATING: APPARATUS |
| Subclass: | 193 | WITH APPARATUS ASSEMBLY OR DISMANTLING MEANS OR WITH IDLE PART; For press shaping surface; |
| Class: | 425 | PLASTIC ARTICLE OR EARTHENWARE SHAPING OR TREATING: APPARATUS |
| Subclass: | 421 | PRESS FORMING APPARATUS HAVING OPPOSED PRESS MEMBERS; Male shaping member and female mold; Including vibrator or tamper; |
Known specimens:
|
Drawings:
Page 1 |
Page 2 |
|