Patent information:
| Patent: | Utility 1,799,470 |
| Patented: | April 7, 1931 |
| Applied: | September 24, 1923 |
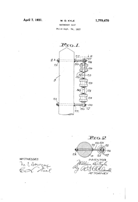
| Title: | Secondary Rack |
| Description: | Simply constructed secondary rack without the base and other parts. Just composed of rods to hold the spool insulators and fastening bracket. |
| Category: | Bracket/secondary Rack |
| Assigned to: | Line Material Co. |
Patentee Information:
Class and subclass information:
| Class: | 174 | ELECTRICITY: CONDUCTORS AND INSULATORS |
| Subclass: | 149R | INSULATORS; Multiple insulator assemblies; Multiple conductor; |
| Class: | 174 | ELECTRICITY: CONDUCTORS AND INSULATORS |
| Subclass: | 162 | INSULATORS; With insulator-supporting or attaching means; Double arm; |
Known specimens:
|
Drawings:
Page 1 |
|