Patent information:
| Patent: | Utility 1,821,222 |
| Patented: | September 1, 1931 |
| Applied: | December 30, 1929 |
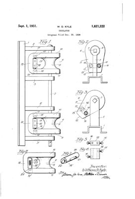
| Title: | Insulator |
| Description: | Metal terminal mounted on outside of a secondary rack insulator or wireholder that is used to secure the deadend of the drop wire with the terminal making the connection to the wire leading into the building eliminating the need for soldering or other poor connection (see 1,821,221; 1,877,903; 1,914,436) |
| Category: | Bracket/secondary Rack |
| Assigned to: | Line Material Co. |
Patentee Information:
Class and subclass information:
| Class: | 174 | ELECTRICITY: CONDUCTORS AND INSULATORS |
| Subclass: | 145 | INSULATORS; Combined; With connector; |
| Class: | 174 | ELECTRICITY: CONDUCTORS AND INSULATORS |
| Subclass: | 148 | INSULATORS; Multiple insulator assemblies; |
| Class: | 174 | ELECTRICITY: CONDUCTORS AND INSULATORS |
| Subclass: | 162 | INSULATORS; With insulator-supporting or attaching means; Double arm; |
Known specimens:
|
Drawings:
Page 1 |
|