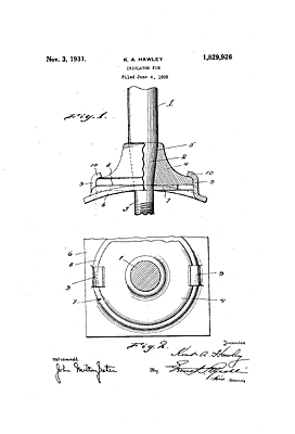
Patent information:
| Patent: | Utility 1,829,926 |
| Patented: | November 3, 1931 |
| Applied: | June 4, 1926 |
| Title: | Insulator Pin |
| Description: | Steel pin with saddle that fits over a curved-top crossarm |
| Category: | Pin |
| Assigned to: | Locke Insulator Corp. |
Patentee Information:
Class and subclass information:
| Class: | 248 | SUPPORTS |
| Subclass: | 226.12 | BRACKETS; Specially mounted or attached; Bracket clamped to mount (i.e., single clamp); For electrical insulator; |
| Class: | 248 | SUPPORTS |
| Subclass: | 222.52 | BRACKETS; Specially mounted or attached; Interlocked bracket and support; Bracket and mount interlocked by rotational motion; |
Known specimens:
|
Drawings:
Page 1 |
|