Patent information:

Patent:Utility 1,844,549
Patented:February 9, 1932
Applied:September 28, 1927
Title:Glass Working Machine
Description:Press for making glass insulators
Category:Press
Assigned to:Whitall Tatum Co.

Patentee Information:

HEADLEY, Benjamin T. Millville, NJ
DU BOIS, David Irvin Millville, NJ
KOOB, Bernard H. Millville, NJ
LOBB, Frank H. Ridley Park, PA

Class and subclass information:

Class:65GLASS MANUFACTURING
Subclass:307PRESS MOLDING MACHINE Mold ring or baffle laterally and movably supported;
Class:65GLASS MANUFACTURING
Subclass:159WITH APPARATUS SAFETY MEANS;
Class:65GLASS MANUFACTURING
Subclass:260WITH MEANS ABOVE MOLD TO TAKE-OUT OR TRANSFER PRODUCT;
Class:65GLASS MANUFACTURING
Subclass:308PRESS MOLDING MACHINE Plunger coacting with successively presented molds;
Class:65GLASS MANUFACTURING
Subclass:334WITH MOLTEN GLASS CHARGE CUTTING OR SCRAPING MEANS;
Class:65GLASS MANUFACTURING
Subclass:360MOLD WITH SEPARATING MEANS OR CLAMPING MEANS With mold support or carrier Pivoted mold sections;

Known specimens:

None known

Drawings:

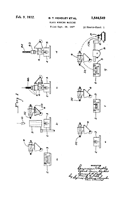
Drawing page 1

Page 1

Drawing page 2

Page 2

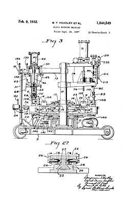
Drawing page 3

Page 3

Drawing page 4

Page 4

Drawing page 5

Page 5

Drawing page 6

Page 6

Drawing page 7

Page 7

Drawing page 8

Page 8

Drawing page 9

Page 9

Drawing page 10

Page 10

Drawing page 11

Page 11

Drawing page 12

Page 12

Drawing page 13

Page 13

Drawing page 14

Page 14

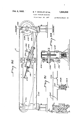
Drawing page 15

Page 15

Drawing page 16

Page 16

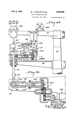
Drawing page 17

Page 17

Drawing page 18

Page 18