Patent information:
| Patent: | Utility 1,883,818 |
| Patented: | October 18, 1932 |
| Applied: | July 25, 1930 |
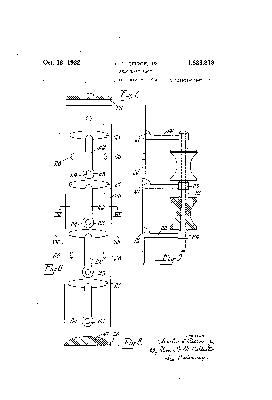
| Title: | Secondary Rack |
| Description: | Bracket for rack spools with a plurality of spools for mounting on a building (see 1,779,489) |
| Category: | Bracket |
| Assigned to: | 1/2 to Hubbard & Co. |
Patentee Information:
Class and subclass information:
| Class: | 248 | SUPPORTS |
| Subclass: | 67.7 | PIPE OR CABLE; Brackets; Double arm; |
| Class: | 29 | METAL WORKING |
| Subclass: | 887 | METHOD OF MECHANICAL MANUFACTURE; Electrical device making; Insulator making; |
Known specimens:
|
Drawings:
Page 1 |
Page 2 |
|