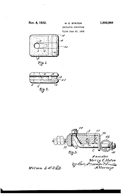
Patent information:
| Patent: | Utility 1,886,984 |
| Patented: | November 8, 1932 |
| Applied: | June 20, 1928 |
| Title: | Insulator Structure |
| Description: | Radio strain insulator for antennas |
| Category: | Radio |
| Assigned to: | |
Patentee Information:
Class and subclass information:
| Class: | 174 | ELECTRICITY: CONDUCTORS AND INSULATORS |
| Subclass: | 207 | INSULATORS; With terminal elements; Link or clevis; |
| Class: | 174 | ELECTRICITY: CONDUCTORS AND INSULATORS |
| Subclass: | 163R | INSULATORS; With insulator-supporting or attaching means; Support and/or insulator embracing or clamping; |
| Class: | 174 | ELECTRICITY: CONDUCTORS AND INSULATORS |
| Subclass: | 164 | INSULATORS; With insulator-supporting or attaching means; Support penetrating; |
| Class: | 174 | ELECTRICITY: CONDUCTORS AND INSULATORS |
| Subclass: | 208 | INSULATORS; Link type; |
Known specimens:
|
Drawings:
Page 1 |
|