Patent information:
| Patent: | Utility 1,889,113 |
| Patented: | November 29, 1932 |
| Applied: | December 16, 1931 |
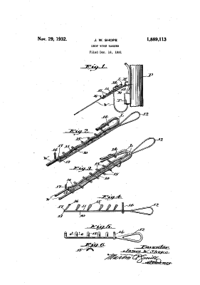
| Title: | Drop Wire Hanger |
| Description: | A hanger for drop wires composed of a loop of wire with several loops or fingers for the drop wire to be woven around. |
| Category: | Hanger |
| Assigned to: | |
Patentee Information:
Class and subclass information:
| Class: | 24 | BUCKLES, BUTTONS, CLASPS, ETC. |
| Subclass: | 131R | CORD AND ROPE HOLDERS; One-piece; Wire; |
| Class: | 24 | BUCKLES, BUTTONS, CLASPS, ETC. |
| Subclass: | 129C | CORD AND ROPE HOLDERS; One-piece; Wire; |
Known specimens:
|
Drawings:
Page 1 |
|