Patent information:
| Patent: | Utility 1,917,322 |
| Patented: | July 11, 1933 |
| Applied: | July 16, 1926 |
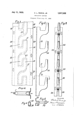
| Title: | Insulator Support |
| Description: | Secondary rack stamped out of one piece of sheet metal. (see patent 1,709,805) |
| Category: | Bracket/secondary Rack |
| Assigned to: | 1/2 to Hubbard and Co. |
Patentee Information:
Class and subclass information:
| Class: | 248 | SUPPORTS |
| Subclass: | 68.1 | PIPE OR CABLE; Brackets; Plural pipe or cable; |
| Class: | 248 | SUPPORTS |
| Subclass: | 301 | BRACKETS; Of sheet material; Hook type; |
| Class: | 29 | METAL WORKING |
| Subclass: | 887 | METHOD OF MECHANICAL MANUFACTURE; Electrical device making; Insulator making; |
Known specimens:
|
Drawings:
Page 1 |
|