Patent information:
| Patent: | Utility 1,944,134 |
| Patented: | January 16, 1934 |
| Applied: | May 29, 1930 |
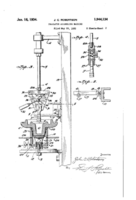
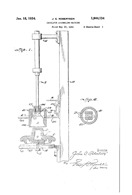
| Title: | Insulator Assembling Machine |
| Description: | Machine to press on and turn cap to secure the cement and cement in the metal pin |
| Category: | Manufacturing |
| Assigned to: | Locke Insulator Corp. |
Patentee Information:
Class and subclass information:
| Class: | 156 | ADHESIVE BONDING AND MISCELLANEOUS CHEMICAL MANUFACTURE |
| Subclass: | 559 | SURFACE BONDING MEANS AND/OR ASSEMBLY MEANS THEREFOR; With work feeding or handling means; For plural parts or plural areas of single part; Means bringing discrete articles into assembled relationship; At least three articles; |
| Class: | 174 | ELECTRICITY: CONDUCTORS AND INSULATORS |
| Subclass: | 189 | INSULATORS; With terminal elements; Cap type; Plastic material adhered; |
Known specimens:
|
Drawings:
Page 1 |
Page 2 |
|