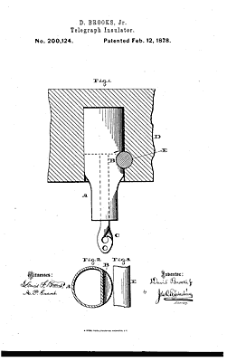
Patent information:
| Patent: | Utility 200,124 |
| Patented: | February 12, 1878 |
| Applied: | April 19, 1877 |
| Title: | Improvement in Telegraph Insulators |
| Description: | Hook in glass held in crossarm by pin (Brooks & La Bastie) |
| Category: | Hook |
| Assigned to: | |
Patentee Information:
Class and subclass information:
| Class: | 174 | ELECTRICITY: CONDUCTORS AND INSULATORS |
| Subclass: | 164 | INSULATORS; With insulator-supporting or attaching means; Support penetrating; |
| Class: | 174 | ELECTRICITY: CONDUCTORS AND INSULATORS |
| Subclass: | 170 | INSULATORS; With conductor holding means; Fitting or terminal type; Hooks; |
Known specimens:
| Number: |  |
|
Drawings:
Page 1 |
|