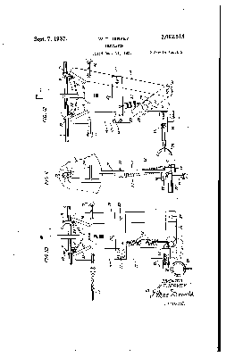
Patent information:
| Patent: | Utility 2,092,515 |
| Patented: | September 7, 1937 |
| Applied: | December 11, 1935 |
| Title: | Insulator |
| Description: | Circular line spacer for telephone wires composed of a disk with holes for each wire |
| Category: | Spacer |
| Assigned to: | Bell Telephone Laboratories, Inc. |
Patentee Information:
Class and subclass information:
| Class: | 174 | ELECTRICITY: CONDUCTORS AND INSULATORS |
| Subclass: | 146 | INSULATORS; Mid-line spacers; |
| Class: | 174 | ELECTRICITY: CONDUCTORS AND INSULATORS |
| Subclass: | 168 | INSULATORS; With conductor holding means; |
| Class: | 174 | ELECTRICITY: CONDUCTORS AND INSULATORS |
| Subclass: | 212 | INSULATORS; Surface configuration; |
| Class: | 294 | HANDLING: HAND AND HOIST-LINE IMPLEMENTS |
| Subclass: | 104 | |
Known specimens:
|
Drawings:
Page 1 |
Page 2 |
|