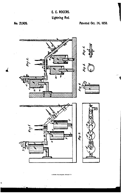
Patent information:
| Patent: | Utility 21,905 |
| Patented: | October 26, 1858 |
| Applied: | |
| Title: | Improved Method of Insulating and Supporting Lightning Rods |
| Description: | Lightning rod with adjustable caps |
| Category: | Lightning Rod |
| Assigned to: | |
Patentee Information:
Class and subclass information:
| Class: | 174 | ELECTRICITY: CONDUCTORS AND INSULATORS |
| Subclass: | 3 | LIGHTNING PROTECTION; Rods; |
Known specimens:
|
Drawings:
Page 1 |
|