Patent information:
| Patent: | Utility 2,300,674 |
| Patented: | November 3, 1942 |
| Applied: | July 12, 1941 |
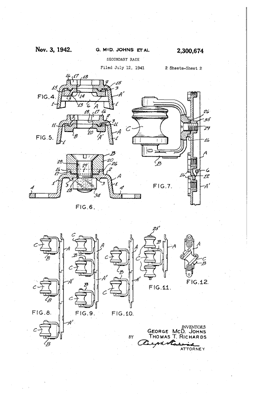
| Title: | Secondary Rack |
| Description: | Bracket for wireholders or rack spools. Each insulator bracket is easily connected or attached to the supporting bracket. |
| Category: | Bracket/wireholder |
| Assigned to: | Smith-Johns Inc. |
Patentee Information:
Class and subclass information:
| Class: | 174 | ELECTRICITY: CONDUCTORS AND INSULATORS |
| Subclass: | 161R | INSULATORS; With insulator-supporting or attaching means; Adjustably or movably mounted; |
| Class: | 174 | ELECTRICITY: CONDUCTORS AND INSULATORS |
| Subclass: | 149R | INSULATORS; Multiple insulator assemblies; Multiple conductor; |
| Class: | 174 | ELECTRICITY: CONDUCTORS AND INSULATORS |
| Subclass: | 162 | INSULATORS; With insulator-supporting or attaching means; Double arm; |
| Class: | 248 | SUPPORTS |
| Subclass: | 67.7 | PIPE OR CABLE; Brackets; Double arm; |
| Class: | 248 | SUPPORTS |
| Subclass: | 70 | PIPE OR CABLE; Brackets; Adjustable; |
| Class: | 403 | JOINTS AND CONNECTIONS |
| Subclass: | 164 | ARTICULATED MEMBERS; Rotatable; |
| Class: | 403 | JOINTS AND CONNECTIONS |
| Subclass: | 187 | ROD TO MEMBER TO SIDE, E.G., PLATE, ROD SIDE, ETC.; |
Known specimens:
|
Drawings:
Page 1 |
Page 2 |
|