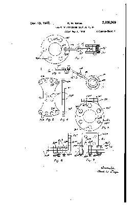
Patent information:
| Patent: | Utility 2,305,069 |
| Patented: | December 15, 1942 |
| Applied: | May 4, 1938 |
| Title: | Means of Attaching Service Wires |
| Description: | Circular bracket that fits under an insulator or rack spool with holes to allow easy dropping of wires connected to the line |
| Category: | Bracket |
| Assigned to: | |
Patentee Information:
Class and subclass information:
| Class: | 174 | ELECTRICITY: CONDUCTORS AND INSULATORS |
| Subclass: | 149R | INSULATORS; Multiple insulator assemblies; Multiple conductor; |
| Class: | 174 | ELECTRICITY: CONDUCTORS AND INSULATORS |
| Subclass: | 158R | INSULATORS; With insulator-supporting or attaching means; |
| Class: | 174 | ELECTRICITY: CONDUCTORS AND INSULATORS |
| Subclass: | 43 | OVERHEAD; Distributing and/or plural point support; |
Known specimens:
|
Drawings:
Page 1 |
Page 2 |
|