Patent information:

Patent:Utility 2,582,442
Patented:January 15, 1952
Applied:May 19, 1945
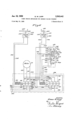
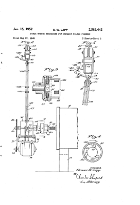
Title:Power Wrench Mechanism for Ceramic Filter Presses
Description:A motorized wrench to tighten the screw on the leaves of a clay filter press that can be moved from one press to the other.
Category:Filter Press
Assigned to:Lapp Insulator Co., Inc.

Patentee Information:

LAPP, Grover W. Le Roy, NY

Class and subclass information:

Class:81TOOLS
Subclass:469 
Class:81TOOLS
Subclass:57.24 
Class:81TOOLS
Subclass:57.4 

Known specimens:

None known

Drawings:

Drawing page 1

Page 1

Drawing page 2

Page 2

Drawing page 3

Page 3