Patent information:
| Patent: | Utility 2,650,263 |
| Patented: | August 25, 1953 |
| Applied: | June 4, 1948 |
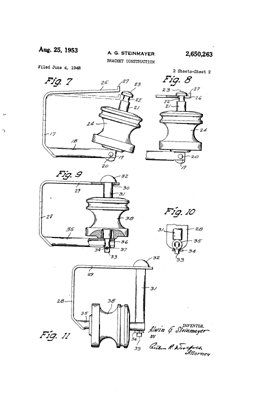
| Title: | Bracket Construction |
| Description: | Wireholder bracket for secondary rack insulators that also functions to aid in stringing the wire without damage to the bracket. |
| Category: | Wireholder/bracket/rack Spool |
| Assigned to: | McGraw Electric Co. |
Patentee Information:
Class and subclass information:
| Class: | 174 | ELECTRICITY: CONDUCTORS AND INSULATORS |
| Subclass: | 161R | INSULATORS; With insulator-supporting or attaching means; Adjustably or movably mounted; |
| Class: | 248 | SUPPORTS |
| Subclass: | 67.7 | PIPE OR CABLE; Brackets; Double arm; |
Known specimens:
|
Drawings:
Page 1 |
Page 2 |
|