Patent information:

Patent:Utility 2,975,499
Patented:March 21, 1961
Applied:March 14, 1955
Title:Ceramic Tunnel Kiln
Description:More fuel efficient tunnel kiln for burning ceramic ware and produces a more uniform quality of porcelain.
Category:Tunnel Kiln
Assigned to: 

Patentee Information:

LAPP, Grover W. LeRoy, NY

Class and subclass information:

Class:264PLASTIC AND NONMETALLIC ARTICLE SHAPING OR TREATING: PROCESSES
Subclass:606OUTSIDE OF MOLD SINTERING OR VITRIFYING OF SHAPED INORGANIC ARTICLE OR PREFORM Particular or specific manner of positioning, arranging, or conveying of plural articles or plural preforms (e.g., stacking, utilizing spacer, etc.) during sintering, vitrifying, or drying In a tunnel or channel kiln;
Class:432HEATING
Subclass:145WORK CHAMBER HAVING HEATING MEANS Having means by which work is progressed or moved mechanically Combustion products generated in or fed to chamber Having means forming work path from inlet to outlet Having structure circulating work atmosphere along or across path Distinct blowers or blower discharge ports along path;
Class:432HEATING
Subclass:211WORK CHAMBER HAVING HEATING MEANS Externally heated, liquid holding type of work container Mounted for pouring discharge;

Known specimens:

None known

Drawings:

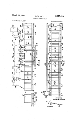
Drawing page 1

Page 1

Drawing page 2

Page 2

Drawing page 3

Page 3

Drawing page 4

Page 4

Drawing page 5

Page 5

Drawing page 6

Page 6

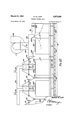
Drawing page 7

Page 7

Drawing page 8

Page 8

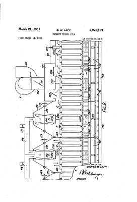
Drawing page 9

Page 9

Drawing page 10

Page 10

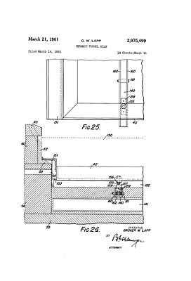
Drawing page 11

Page 11

Drawing page 12

Page 12

Drawing page 13

Page 13

Drawing page 14

Page 14