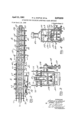
Patent information:
| Patent: | Utility 2,978,839 |
| Patented: | April 11, 1961 |
| Applied: | April 14, 1958 |
| Title: | Apparatus for Finishing Apertured Glass Articles |
| Description: | Fire polishing of holes for thru hole insulators CD 1049 |
| Category: | Manufacturing |
| Assigned to: | Kimble Glass Co. |
Patentee Information:
Class and subclass information:
| Class: | 65 | GLASS MANUFACTURING |
| Subclass: | 166 | PERFORATOR FOR ARTICLE OR PREFORM; |
| Class: | 65 | GLASS MANUFACTURING |
| Subclass: | 284 | GLASSWORKING OR PREFORM BY OR WITH REHEATING MEANS (E.G., FLAME SEVERING); Fire-polishing means; |
| Class: | 65 | GLASS MANUFACTURING |
| Subclass: | 348 | PRODUCT COOLING MEANS (E.G., TEMPERING); |
Known specimens:
|
Drawings:
Page 1 |
Page 2 |
|