Patent information:
| Patent: | Utility 3,347,003 |
| Patented: | October 17, 1967 |
| Applied: | March 19, 1965 |
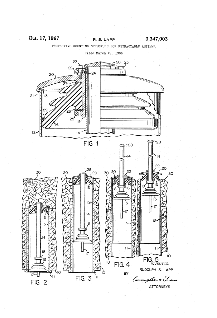
| Title: | Protective Mounting Structure for Retractable Antenna |
| Description: | Retractable antenna for a bomb shelter |
| Category: | Antenna |
| Assigned to: | Lapp Insulator Co., Inc. |
Patentee Information:
Class and subclass information:
| Class: | 52 | STATIC STRUCTURES (E.G., BUILDINGS) |
| Subclass: | 169.1 | SPECIFIED TERRANEAN RELATIONSHIP; |
| Class: | 343 | COMMUNICATIONS: RADIO WAVE ANTENNAS |
| Subclass: | 719 | |
| Class: | 343 | COMMUNICATIONS: RADIO WAVE ANTENNAS |
| Subclass: | 889 | |
| Class: | 52 | STATIC STRUCTURES (E.G., BUILDINGS) |
| Subclass: | 110 | SHAFT, VEHICLE SHELL ATTACHED; E.G., ANTENNA; |
| Class: | 52 | STATIC STRUCTURES (E.G., BUILDINGS) |
| Subclass: | 298 | FOOTING OR FOUNDATION TYPE; Socket; |
| Class: | 52 | STATIC STRUCTURES (E.G., BUILDINGS) |
| Subclass: | 393 | RELATIVELY YIELDABLE PREFORMED SEPARATOR (I.E., EXPANSION JOINT); |
| Class: | 52 | STATIC STRUCTURES (E.G., BUILDINGS) |
| Subclass: | 632 | SHAFT OR OPENWORK, AXIALLY EXTENSIBLE; |
Known specimens:
|
Drawings:
Page 1 |
|