Patent information:

Patent:Utility 3,474,995
Patented:October 28, 1969
Applied:June 23, 1967
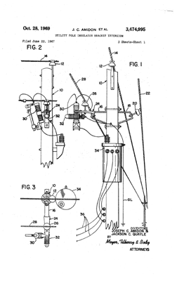
Title:Utility Pole Insulator Bracket Extension
Description:Metal bracket or extension to support insulators, fuses, etc. when no crossarms are present.
Category:Miscellaneous
Assigned to: 

Patentee Information:

AMIDON, Joseph C. Cleveland, OH
QUAYLE, Jackson C. Cleveland, OH

Class and subclass information:

Class:248SUPPORTS
Subclass:218.4BRACKETS Specially mounted or attached Post or column attached;
Class:174ELECTRICITY: CONDUCTORS AND INSULATORS
Subclass:158RINSULATORS With insulator-supporting or attaching means;
Class:248SUPPORTS
Subclass:65PIPE OR CABLE Brackets;

Known specimens:

None known

Drawings:

Drawing page 1

Page 1

Drawing page 2

Page 2

Drawing page 3

Page 3