Patent information:
| Patent: | Utility 3,779,730 |
| Patented: | December 18, 1973 |
| Applied: | August 27, 1972 |
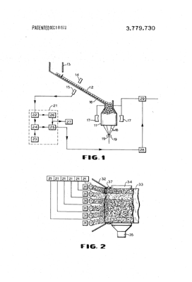
| Title: | Control for Glass Marble, Feeding, Melting, and Fiber Forming Unit |
| Description: | Machine for feeding, melting, and making fibers from glass marbles. |
| Category: | Glass Marble |
| Assigned to: | Johns-Manville Corp. |
Patentee Information:
Class and subclass information:
| Class: | 65 | GLASS MANUFACTURING |
| Subclass: | 484 | FIBER MAKING APPARATUS; With measuring, controlling, sensing, timing, inspecting, indicating, or testing means; |
| Class: | 65 | GLASS MANUFACTURING |
| Subclass: | 158 | WITH SIGNAL, INDICATOR, INSPECTION MEANS, REGISTER, OR RECORDER; |
| Class: | 65 | GLASS MANUFACTURING |
| Subclass: | 162 | CONTROL RESPONSIVE TO CONDITION SENSING MEANS; Temperature or heater control; |
| Class: | 65 | GLASS MANUFACTURING |
| Subclass: | 335 | GLASS FURNACE WITH FURNACE CHARGING MEANS; |
| Class: | 65 | GLASS MANUFACTURING |
| Subclass: | 540 | FIBER MAKING APPARATUS; With furnace charging means; |
Known specimens:
|
Drawings:
Page 1 |
Page 2 |
|