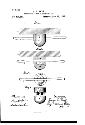
Patent information:
| Patent: | Utility 418,369 |
| Patented: | December 31, 1889 |
| Applied: | May 10, 1889 |
| Title: | Screw Cleat for Electric Wires |
| Description: | Cleat (screw) to hold wire |
| Category: | Cleat |
| Assigned to: | |
Patentee Information:
Class and subclass information:
| Class: | 174 | ELECTRICITY: CONDUCTORS AND INSULATORS |
| Subclass: | 156 | INSULATORS; Divided insulator; |
| Class: | 24 | BUCKLES, BUTTONS, CLASPS, ETC. |
| Subclass: | 135R | CORD AND ROPE HOLDERS; Screw clamp; |
Known specimens:
|
Drawings:
Page 1 |
|