Patent information:
| Patent: | Utility 4,443,659 |
| Patented: | April 17, 1984 |
| Applied: | August 2, 1982 |
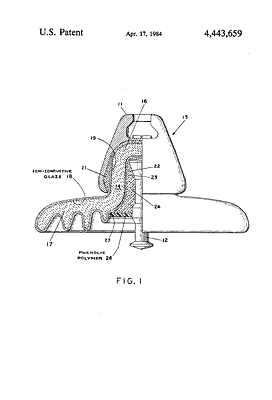
| Title: | Glaze to Pin Connection for an Electrical Insulator with Embedded Metal Fitting |
| Description: | Suspension with semi-conducting glaze & conducting coating on cement |
| Category: | Suspension |
| Assigned to: | Interpace Corp. |
Patentee Information:
Class and subclass information:
| Class: | 174 | ELECTRICITY: CONDUCTORS AND INSULATORS |
| Subclass: | 140C | INSULATORS; Combined; With conductive arcing or stress distributing means; Coated; |
| Class: | 174 | ELECTRICITY: CONDUCTORS AND INSULATORS |
| Subclass: | 182 | INSULATORS; With terminal elements; Plural; Cap and pin; |
| Class: | 174 | ELECTRICITY: CONDUCTORS AND INSULATORS |
| Subclass: | 211 | INSULATORS; With moisture or dirt removing or shedding; |
Known specimens:
|
Drawings:
Page 1 |
Page 2 |
|