Patent information:
| Patent: | Utility 4,529,838 |
| Patented: | July 16, 1985 |
| Applied: | August 6, 1984 |
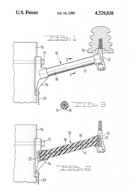
| Title: | Support Bracket for Electrical Insulator |
| Description: | Bracket for mounting on side of pole made of a rod of insulating material with pin bracket on one end. |
| Category: | Bracket |
| Assigned to: | |
Patentee Information:
Class and subclass information:
| Class: | 174 | ELECTRICITY: CONDUCTORS AND INSULATORS |
| Subclass: | 158R | INSULATORS; With insulator-supporting or attaching means; |
| Class: | 174 | ELECTRICITY: CONDUCTORS AND INSULATORS |
| Subclass: | 177 | INSULATORS; With terminal elements; Plural; |
Known specimens:
|
Drawings:
Page 1 |
Page 2 |
|