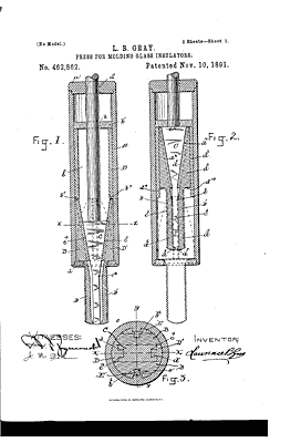
Patent information:

Patent:Utility 462,862
Patented:November 10, 1891
Applied:February 18, 1891
Title:Press for Molding Glass Insulators
Description:Press for making insulators
Category:Press
Assigned to: 

Patentee Information:

GRAY, Lawrence B. Boston, MA

Class and subclass information:

Class:65GLASS MANUFACTURING
Subclass:362PLUNGER;

Known specimens:

None known

Drawings:

Drawing page 1

Page 1

Drawing page 2

Page 2