Patent information:

Patent:Utility 4,814,551
Patented:March 21, 1989
Applied:January 27, 1988
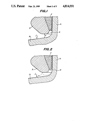
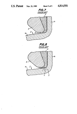
Title:Anticorrosive Insulator
Description:Suspension (anticorrosive), cementing metal cap for DC service (Japan)
Category:Suspension
Assigned to:NGK Insulators, Ltd.

Patentee Information:

WATANABE, Akihiro ,, Japan
MORI, Shigeo ,, Japan

Class and subclass information:

Class:174ELECTRICITY: CONDUCTORS AND INSULATORS
Subclass:189INSULATORS With terminal elements Cap type Plastic material adhered;
Class:174ELECTRICITY: CONDUCTORS AND INSULATORS
Subclass:182INSULATORS With terminal elements Plural Cap and pin;
Class:174ELECTRICITY: CONDUCTORS AND INSULATORS
Subclass:211INSULATORS With moisture or dirt removing or shedding;

Known specimens:

None known

Drawings:

Drawing page 1

Page 1

Drawing page 2

Page 2

Drawing page 3

Page 3

Drawing page 4

Page 4

Drawing page 5

Page 5

Drawing page 6

Page 6