Patent information:
| Patent: | Utility 4,845,318 |
| Patented: | July 4, 1989 |
| Applied: | February 12, 1988 |
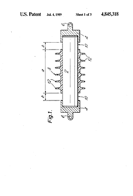
| Title: | Composite Electrical Insulator and Method of Forming Same |
| Description: | Polymer suspension with porcelain core |
| Category: | Polymer |
| Assigned to: | Raychem Limited |
Patentee Information:
Class and subclass information:
| Class: | 174 | ELECTRICITY: CONDUCTORS AND INSULATORS |
| Subclass: | 178 | INSULATORS; With terminal elements; Plural; Multi-part, sectional or composite insulator; |
| Class: | 29 | METAL WORKING |
| Subclass: | 887 | METHOD OF MECHANICAL MANUFACTURE; Electrical device making; Insulator making; |
| Class: | 174 | ELECTRICITY: CONDUCTORS AND INSULATORS |
| Subclass: | 179 | INSULATORS; With terminal elements; Plural; Multi-part, sectional or composite insulator; Protected rod type; |
| Class: | 174 | ELECTRICITY: CONDUCTORS AND INSULATORS |
| Subclass: | 209 | INSULATORS; Sectional, multi-part, composite, or coated; |
Known specimens:
|
Drawings:
Page 1 |
Page 2 |
Page 3 |
Page 4 |
|