Patent information:

Patent:Utility 5,796,048
Patented:August 18, 1998
Applied:March 28, 1995
Title:Insulator having Conductive Surface Coating to Prevent Corona Discharge
Description:RFI coating
Category:RFI
Assigned to:NGK Insulators, Ltd.

Patentee Information:

SUZUKI, Yoshihiro ,, Japan
KUTSUNA, Eiji ,, Japan

Class and subclass information:

Class:174ELECTRICITY: CONDUCTORS AND INSULATORS
Subclass:141CINSULATORS Combined With conductive arcing or stress distributing means Strings or stacks Coated;
Class:174ELECTRICITY: CONDUCTORS AND INSULATORS
Subclass:137AINSULATORS Coated;

Known specimens:

None known

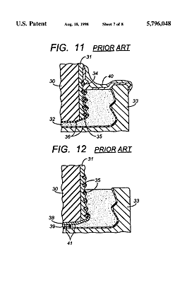
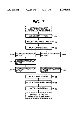
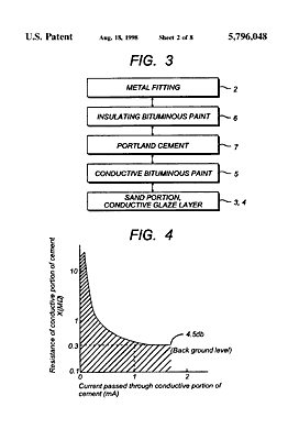
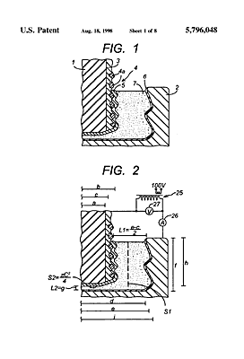
Drawings:

Drawing page 1

Page 1

Drawing page 2

Page 2

Drawing page 3

Page 3

Drawing page 4

Page 4

Drawing page 5

Page 5

Drawing page 6

Page 6

Drawing page 7

Page 7

Drawing page 8

Page 8

Drawing page 9

Page 9