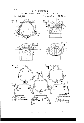
Patent information:
| Patent: | Utility 601,454 |
| Patented: | March 29, 1898 |
| Applied: | December 8, 1897 |
| Title: | Clamping Buckle for Electric Line Wires |
| Description: | Bail wire system for tie wire |
| Category: | Bail Wire |
| Assigned to: | |
Patentee Information:
Class and subclass information:
| Class: | 174 | ELECTRICITY: CONDUCTORS AND INSULATORS |
| Subclass: | 172 | INSULATORS; With conductor holding means; Insulator embracing; |
Known specimens:
|
Drawings:
Page 1 |
|