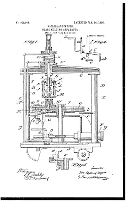
Patent information:

Patent:Utility 809,969
Patented:January 16, 1906
Applied:March 22, 1905
Title:Glass-Molding Apparatus
Description:Glass press for jars or insulators
Category:Press
Assigned to: 

Patentee Information:

MYERS, McClelland Moosic, PA

Class and subclass information:

Class:65GLASS MANUFACTURING
Subclass:249PLURAL DISTINCT GLASSWORKING APPARATUS Plural presses With relative rotation between plunger and mold during withdrawal Plungers oppositely disposed;
Class:65GLASS MANUFACTURING
Subclass:361MOLD WITH SUPPORTING OR CARRYING MEANS;
Class:74MACHINE ELEMENT OR MECHANISM
Subclass:822 

Known specimens:

None known

Drawings:

Drawing page 1

Page 1

Drawing page 2

Page 2

Drawing page 3

Page 3