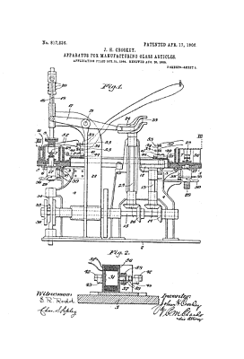
Patent information:
| Patent: | Utility 817,836 |
| Patented: | April 17, 1906 |
| Applied: | October 31, 1904 |
| Title: | Apparatus for Manufacturing Glass Articles |
| Description: | Press for making glassware |
| Category: | Press |
| Assigned to: | Duquesne Glass Co. |
Patentee Information:
Class and subclass information:
| Class: | 65 | GLASS MANUFACTURING |
| Subclass: | 360 | MOLD WITH SEPARATING MEANS OR CLAMPING MEANS; With mold support or carrier; Pivoted mold sections; |
| Class: | 65 | GLASS MANUFACTURING |
| Subclass: | 313 | PRESS MOLDING MACHINE; Plunger coacting with successively presented molds; Vertically segmented orbiting mold; |
| Class: | 65 | GLASS MANUFACTURING |
| Subclass: | 361 | MOLD WITH SUPPORTING OR CARRYING MEANS; |
Known specimens:
|
Drawings:
Page 1 |
Page 2 |
|