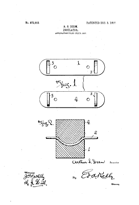
Patent information:
| Patent: | Utility 872,993 |
| Patented: | December 3, 1907 |
| Applied: | July 6, 1907 |
| Title: | Insulator |
| Description: | Cleat |
| Category: | Cleat |
| Assigned to: | 1/2 to Issac Bear |
Patentee Information:
Class and subclass information:
| Class: | 174 | ELECTRICITY: CONDUCTORS AND INSULATORS |
| Subclass: | 157 | INSULATORS; Divided insulator; Aligned through aperture; |
Known specimens:
|
Drawings:
Page 1 |
|