Patent information:

Patent:Utility 883,397
Patented:March 31, 1908
Applied:July 29, 1907
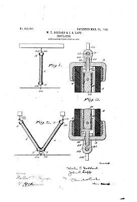
Title:Insulator
Description:Suspension insulator made of a rod of porcelain
Category:Suspension
Assigned to:The Locke Insulator Mfg. Co.

Patentee Information:

GODDARD, Walter T. Victor, NY
LAPP, John S. Victor, NY

Class and subclass information:

Class:174ELECTRICITY: CONDUCTORS AND INSULATORS
Subclass:179INSULATORS With terminal elements Plural Multi-part, sectional or composite insulator Protected rod type;

Known specimens:

None known

Drawings:

Drawing page 1

Page 1